| Basta | Basta |
|---|---|
| Byggvarubedömningen | Accepteras |
| Sunda Hus | A |
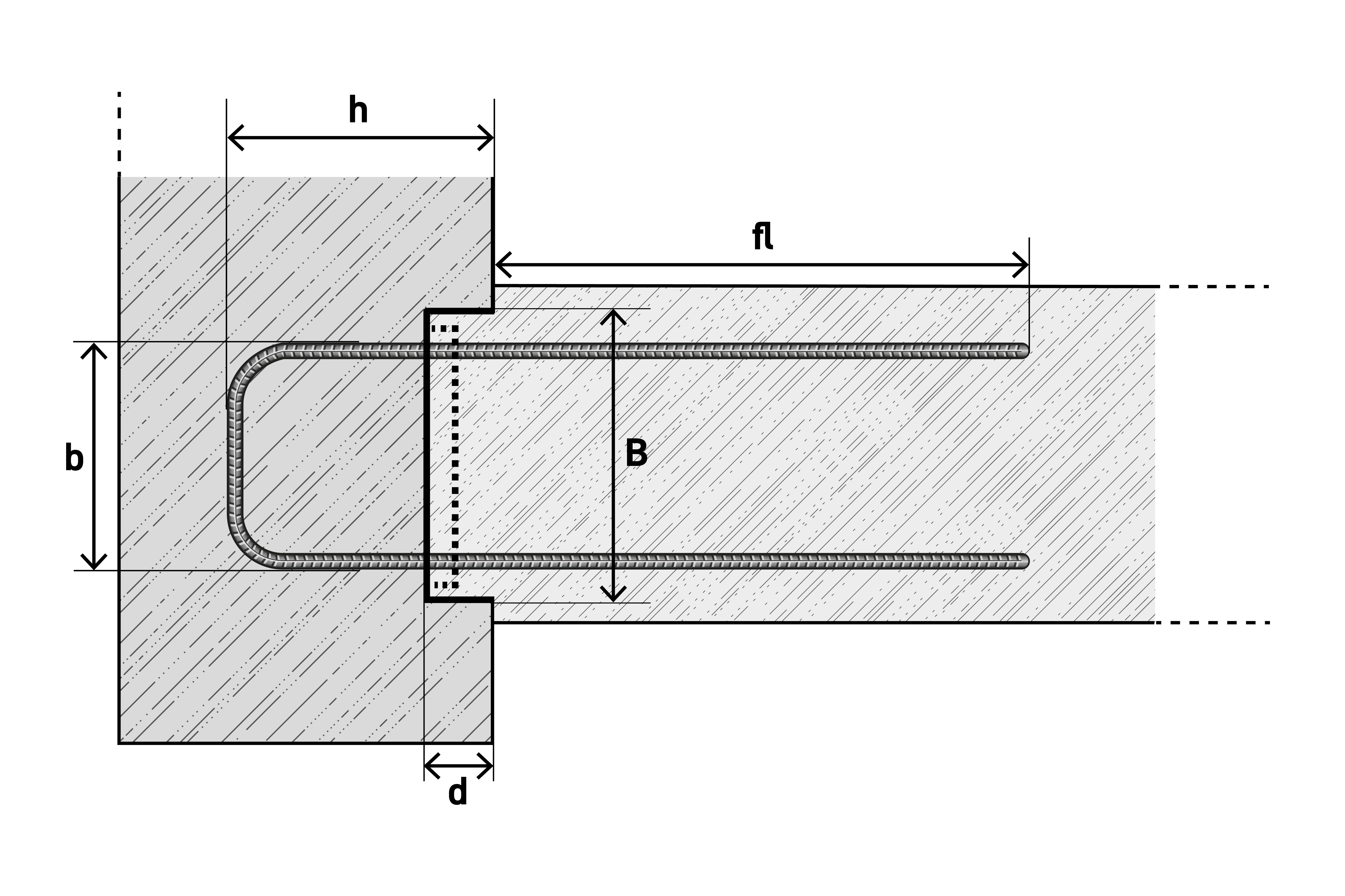
Förtagningslåda typ SV
Beställningsvara.
Förtagningslåda som lämpar sig särkilt vid höga dimensionerande laster längs och tvärs lådan placering. Lådans profil uppfyller de högsta kraven gällande förtagning enligt Eurocode.
Lådorna spikas mot formen. Efter gjutning rivs plastlocket av och järnen bockas ut till anslutande konstruktionsdel.
Stål: K500C-T
Vid särskilda behov specialtillverkar vi lådor. Vi tillhandahåller rådgivning för val av låda utifrån:
Användingsområde
Dimensionerande laster
Annan föreskriven låda
Godkänd av Basta med högsta miljöbetyg


